Ferrari just filed a new patent for a really cool design feature
Published on Oct 24, 2025 at 8:18 AM (UTC+4)
by Molly Davidson
Last updated on Oct 24, 2025 at 4:24 PM (UTC+4)
Edited by
Kate Bain
Ferrari is at it again, sketching up something that looks equal parts genius and madness.
A new patent filing hints at a design tweak that could completely rewire how the brand builds its next generation of cars.
It’s bold and it’s got the internet arguing about whether it’s brilliant or bonkers.
But like most things Ferrari dreams up, there’s a method to the madness.
DISCOVER SBX CARS – The global premium auction platform powered by Supercar Blondie
Ferrari‘s new patent
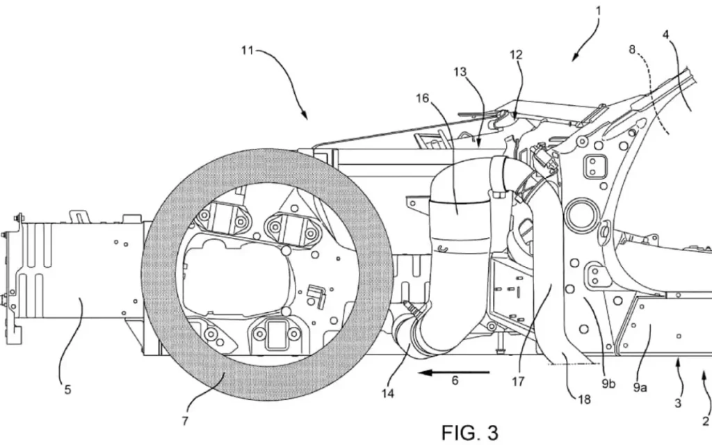
Ferrari’s new patent describes a side-exit exhaust system – the same kind of setup once seen on the Dodge Viper and classic race cars.
In these systems, the exhaust runs along the body and exits just behind the front wheels, under the doors.
It looks dramatic and sounds even better, but it’s a nightmare to engineer.
Most road cars avoid side-exit pipes because they can create problems.


They’re hard to package around doors and chassis braces, they add weight, and they can cook the paint or burn passengers getting out.
Supercar Blondie’s Alex Hirschi was burnt by one herself, now wearing a pretty neat scar on the back of her leg.
They can also hurt aerodynamics, disrupting airflow along the car’s sides.
Alas, Ferrari’s filing for side-exit exhaust claims to fix all that.
The system routes the exhaust up and around a structural member, using the pipework itself to absorb crash energy and stop the front wheel from intruding into the cabin.
That means the pipes double as safety components.
Ferrari also says the layout reduces weight and can be built ‘in a simple and economic fashion’ – words you almost never see in a Ferrari patent.
The future lineup could get even louder
This isn’t Ferrari’s first flirtation with side pipes.
Back in 2013, it filed a patent for a single-sided setup that never happened.
But this time feels different.
The brand plans to launch 20 new models in the next five years and something this theatrical would fit right in.

Ferrari’s been blending old-school drama with new-school engineering lately, from hybrid V12s to active aero wizardry.
So why not bring back the side-exit scream, the way the Dodge Viper once did, only now with Italian finesse and F1-grade precision?
In an era when most manufacturers are tuning out the noise, Ferrari seems hell-bent on amplifying it.
Side-exit exhausts are loud, which is probably why Ferrari’s chasing them.
And if this patent comes to life, the next Ferrari that roars past might hit you with the soundtrack from both sides at once.
DISCOVER SBX CARS: The global premium car auction platform powered by Supercar Blondie
Molly Davidson is a Junior Content Writer at Supercar Blondie. Based in Melbourne, she holds a double Bachelor’s degree in Arts/Law from Swinburne University and a Master’s of Writing and Publishing from RMIT. Molly has contributed to a range of magazines and journals, developing a strong interest in lifestyle and car news content. When she’s not writing, she’s spending quality time with her rescue English staffy, Boof.