Tesla files new patent which looks to fix a common Full Self Driving problem
Published on Dec 23, 2025 at 8:39 AM (UTC+4)
by Jason Fan
Last updated on Dec 24, 2025 at 12:11 PM (UTC+4)
Edited by
Kate Bain

Full Self Driving has come a long way, but a new Tesla patent shows the company is still tackling some very real, everyday challenges.
One of the biggest is something every driver has experienced at least once: blinding sunlight glare.
While humans can reach for sunglasses or flip down a sun visor, cameras don’t have that luxury.
Tesla’s latest patent suggests the company may finally have a clever, hardware-based way to help cars when the sun is working against them.
SBX CARS – View live supercar auctions powered by Supercar Blondie
Tesla’s Full Self Driving relies heavily on cameras
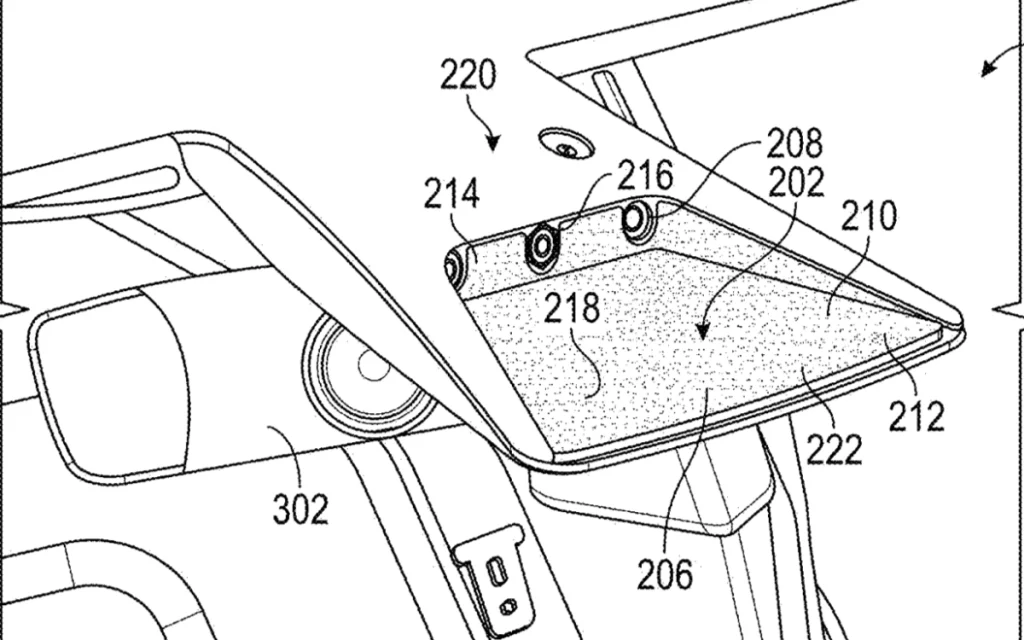
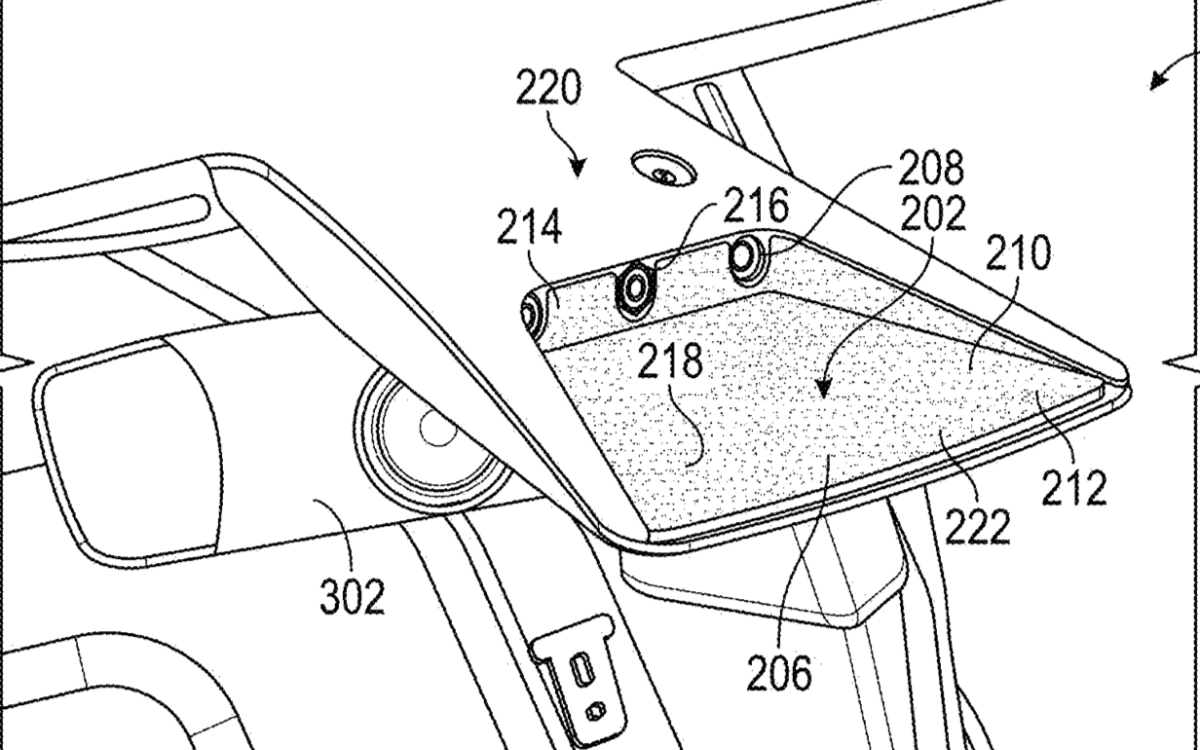
The patent outlines a ‘glare shield’ designed specifically for camera-based autonomous systems.
Tesla’s Full Self Driving relies almost entirely on cameras to understand the world, unlike rivals that use a mix of sensors.

The proposed solution uses a textured surface made up of microscopic cone-shaped structures.
These tiny cones scatter incoming light in multiple directions, reducing harsh reflections before they hit the camera sensor.
In simpler terms, it’s like giving the camera its own built-in sunglasses, but at a microscopic level.

What makes the design especially interesting is that it’s not static.
According to the patent, Tesla is also exploring an electromechanical system that can adjust the orientation of these micro-cones based on the angle of incoming sunlight.
That means the glare shield could actively respond to changing conditions, whether the car is driving into a low sunset or facing strong midday glare.
The goal is to reduce something called Total Hemispherical Reflectance, which directly improves how accurately the camera interprets what it sees.
Why other self-driving cars don’t struggle with the same problem
But if the sunlight is such a big problem, why don’t other self-driving cars struggle with this as much?
The answer mostly comes down to sensor choice.
Companies like Waymo rely heavily on lidar and radar alongside cameras.

Lidar uses lasers to map the environment in 3D and is largely unaffected by sunlight glare, while radar can detect objects regardless of lighting conditions.
Tesla’s vision-only approach has advantages in cost, scalability, and human-like perception, but it also means camera limitations like glare are more critical to solve.
This new Tesla patent shows that the company isn’t backing away from its vision-first strategy.
Instead, it’s doubling down with innovative hardware ideas that aim to make Full Self Driving more reliable in the real world.